
ダイヤル式の為、カギを持ち歩く必要がありません。
暗証番号はお好きな番号に設定出来ます。
工具箱、ロッカー、門扉などのロックに最適です。
番号式南京錠160の特長・使用例
3~4桁の可変式。
材質
【本体】
亜鉛ダイキャスト【シャックル】
焼入れ鉄のクロームメッキ仕上げ使い方
ロックする時
ダイヤルを暗証番号に合わせ、ツルを上に引っ張り上げます。(開錠状態)
ロックしたい部分にツルを引っ掛け、ツルを押し込みます。
ダイヤルをランダムに回すとロック完了となります。(施錠状態)
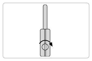
ロックを外す時
ダイヤルを暗証番号に合わせ、ツルを上に引っ張ります。
ツルを掛けた部分から外します。
暗証番号の設定・変更方法
まず開錠状態にします。
ダイヤルを回し、暗証番号を暗証番号合わせ位置に合わせて下さい。
(※工場出荷時の暗証番号は「0-0-0」か「0-0-0-0」です。)
開錠状態にしたら、ツルを引き上げて下さい。
ツルは引き上げたまま、本体横のネジを時計回りに止まるまでコインなどで回してください。
本体横のネジを時計回りに回した後、ご希望の番号にセットしてください。
本体横のネジを元の場所に戻します。ツルをおろし、各ダイヤル回すと施錠状態となります。
困った!こんな時は・・・
≪状態≫
設定した暗証番号で操作ができない。
ツルが開かない。
暗証番号を忘れてしまった。
≪原因≫
ご希望以外の番号に設定されている可能性があります。
≪解決法≫
※本製品は防犯性向上を考慮している為、非常開錠機能はございません。暗証番号を合わせてもツルが動かない場合、暗証番号をお忘れの場合につきましても、次の手順を行ってください。
ダイヤルを000から999まで順に回し設定番号をお探し下さい。ツルの開いた番号が現在設定されている番号となります。この状態で手順の初めから操作してください。
上記の方法でもどうにもならない場合には、ツルを切断するしか方法がございません。お近くの錠前専門業者までご相談下さい。
サビについて
使用環境・期間・頻度などにより、錆びる可能性があります。
定期的なメンテナンスをお勧め致します。